Teknoloji devi, katlanan ekranının tam karşısında onarım yapan bir ekrana sahip olacak cihaz için patent başvurusunda bulundu. Rapora göre Apple, telefonun herhangi bir hasarı otomatik olarak iyileştireceğini söylüyor.
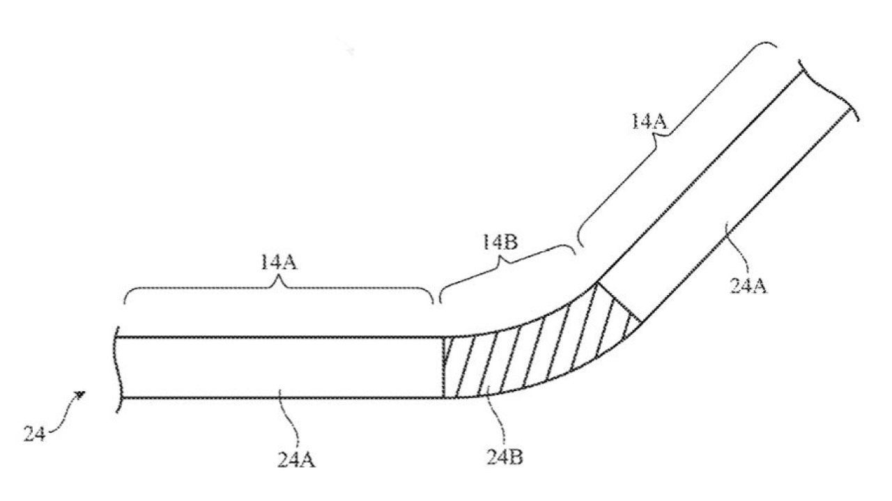
Apple’ın patenti aslında bu yılın başlarında dosyalandı ancak 9to5mac.com teknoloji web sitesine göre ABD Patent ve Ticari Marka Ofisi tarafından halka açıklandı. Patentin içeriğinde, ekrandaki çöküntü, çizik veya diğer kusurları azaltan “kendi kendini onaran” bir malzeme katmanı olabileceği ifadesi yer alıyor.
Apple’ın patenti, ekranının iyileştirilmesinin ısı, ışık veya elektrik akımı kullanılarak yapılacağını öne sürüyor. Patent şöyle devam ediyor: “Ekran kaplama katmanı, artırılmış esneklik için katmanın esnek bölgesinde bir elastomer katmanı içerebilir. Kendi kendini iyileştiren malzeme tabakası, esnek bölgedeki elastomer tabakasını kaplayabilir. Kendiliğinden iyileşen malzeme katmanında kendiliğinden iyileşme meydana gelebilir (örneğin, kendi kendini onaran kaplama çöktüğünde, kaplamanın malzemesi dış müdahale olmadan bile boşlukları doldurabilir). Alternatif olarak, kendi kendini iyileştirme harici uygulanan ısı, ışık, elektrik akımı veya başka türden harici uyaranlar tarafından başlatılabilir veya hızlandırılabilir.”





